繼電器工作原理知識整理-上海上繼科技有限公司
發表時間:2019-03-08 15:45 瀏覽次數:657 〖返回〗繼電器是什么?
所屬學科: 電力(一級學科) ;繼電保護與自動化(二級學科)
繼電器是一種電子控制器件,它具有控制系統(又稱輸入回路)和被控制系統(又稱輸出回路),通常應用于自動控制電路中,它實際上是用較小的電流去控制較大電流的一種“自動開關”。故在電路中起著自動調節、安全保護、轉換電路等作用。
繼電器的定義:繼電器是一種當輸入量(電、磁、聲、光、熱)達到一定值時,輸出量將發生跳躍式變化的自動控制器件。

繼電器常識
繼電器是一種電子控制器件,它具有控制系統(又稱輸入回路)和被控制系統(又稱輸出回路),通常應用于自動控制電路中,它實際上是用較小的電流去控制較大電流的一種“自動開關”。故在電路中起著自動調節、安全保護、轉換電路等作用。
繼電器幾種作用:
1) 擴大控制范圍。例如,多觸點繼電器控制信號達到某一定值時,可以按觸點組的不同形式,同時換接、開斷、接通多路電路。
2) 放大。例如,靈敏型繼電器、中間繼電器等,用一個很微小的控制量,可以控制很大功率的電路。
3) 綜合信號。例如,當多個控制信號按規定的形式輸入多繞組繼電器時,經過比較綜合,達到預定的控制效果。
4) 自動、遙控、監測。例如,自動裝置上的繼電器與其他電器一起,可以組成程序控制線路,從而實現自動化運行。
電磁繼電器的工作原理和特性
電磁式繼電器一般由鐵芯、線圈、銜鐵、觸點簧片等組成的。只要在線圈兩端加上一定的電壓,線圈中就會流過一定的電流,從而產生電磁效應,銜鐵就會在電磁力吸引的作用下克服返回彈簧的拉力吸向鐵芯,從而帶動銜鐵的動觸點與靜觸點(常開觸點)吸合。當線圈斷電后,電磁的吸力也隨之消失,銜鐵就會在彈簧的反作用力返回原來的位置,使動觸點與原來的靜觸點(常閉觸點)吸合。這樣吸合、釋放,從而達到了在電路中的導通、切斷的目的。對于繼電器的“常開、常閉”觸點,可以這樣來區分:繼電器線圈未通電時處于斷開狀態的靜觸點,稱為“常開觸點”;處于接通狀態的靜觸點稱為“常閉觸點”。
固態繼電器的原理及結構
SSR按使用場合可以分成交流型和直流型兩大類,它們分別在交流或直流電源上做負載的開關,不能混用。
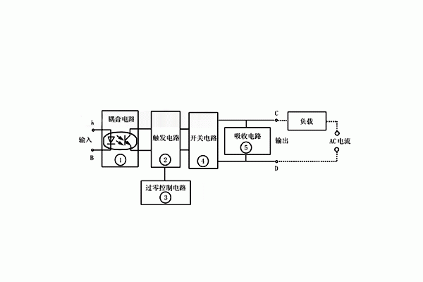
下面以交流型的SSR為例來說明它的工作原理,圖1是它的工作原理框圖,圖1中的部件①-④構成交流SSR的主體,從整體上看,SSR只有兩個輸入端(A和B)及兩個輸出端(C和D),是一種四端器件。

圖1
工作時只要在A、B上加上一定的控制信號,就可以控制C、D兩端之間的“通”和“斷”,實現“開關”的功能,其中耦合電路的功能是為A、B端輸入的控制信號提供一個輸入/輸出端之間的通道,但又在電氣上斷開SSR中輸入端和輸出端之間的(電)聯系, 以防止輸出端對輸入端的影響,耦合電路用的元件是“光耦合器”,它動作靈敏、響應速度高、輸入/輸出端間的絕緣(耐壓)等級高;由于輸入端的負載是發光二極管,這使SSR的輸入端很容易做到與輸入信號電平相匹配,在使用可直接與計算機輸出接口相接,即受“1”與“0”的邏輯電平控制。觸發電路的功能是產生合乎要求的觸發信號,驅動開關電路④工作,但由于開關電路在不加特殊控制電路時,將產生射頻干擾并以高次諧波或尖峰等污染電網,為此特設“過零控制電路”。所謂“過零”是指,當加入控制信號,交流電壓過零時,SSR即為通態;而當斷開控制信號后,SSR要等待交流電的正半周與負半周的交界點(零電位)時,SSR才為斷態。這種設計能防止高次諧波的干擾和對電網的污染。吸收電路是為防止從電源中傳來的尖峰、浪涌(電壓)對開關器件雙向可控硅管的沖擊和干擾(甚至誤動作)而設計的,一般是用“R-C”串聯吸收電路或非線性電阻(壓敏電阻器)。圖2是一種典型的交流型SSR的電原理圖。

圖2
直流型的SSR與交流型的SSR相比,無過零控制電路,也不必設置吸收電路,開關器件一般用大功率開關三極管,其它工作原理相同。不過,直流型SSR在使用時應注意:①負載為感性負載時,如直流電磁閥或電磁鐵,應在負載兩端并聯一只二極管,極性如圖3所示,二極管的電流應等于工作電流,電壓應大于工作電壓的4倍。②SSR工作時應盡量把它靠近負載,其輸出引線應滿足負荷電流的需要。③使用電源屬經交流降壓整流所得的,其濾波電解電容應足夠大。

圖3
圖4 給出了幾種國內、外常見的SSR的外形。

上海上繼科技有限公司(專注電力保護繼電器生產廠家)銷售熱線:021-57233089 QQ:1932551438
( 以上內容僅供參考,上海上繼科技有限公司有最終解釋權)
更多繼電器精彩文章→電壓繼電器怎么接線
- 上一篇:電壓繼電器怎么接線
- 下一篇:繼電器測試主有要哪幾類?





